
Как устроена архитектура мобильных сетей
с помощью нейросети
Переход между поколениями мобильной связи — это не просто смена технологий, а целый комплекс инженерных решений, от которых зависит, насколько быстро, надежно и масштабируемо будет работать сеть. Почему 3G постепенно уходит в прошлое, а 2G и 4G остаются с нами? Как устроены архитектуры сетей российских операторов, которые поддерживают более 260 миллионов абонентов и готовящихся к внедрению 5G? Об этом рассказывает Михаил Бухтеев, технический эксперт по продукту в YADRO.
Чтобы разобраться, почему одни поколения связи выводят из эксплуатации, а другие остаются ключевыми, нужно сначала понять, как в целом устроена мобильная сеть и какие сервисы она может предоставлять. Начнем с ее базовой архитектуры и основных компонентов.
- из каких подсистем состоит мобильная сеть и за что отвечает каждая из них
- чем отличаются архитектуры разных поколений связи и почему одни уходят, а другие остаются
- как обеспечивается мобильность абонентов и бесшовный переход между сетями
- как работают голосовые вызовы, звонки через Wi-Fi и сеть для IoT-решений
Как устроена мобильная сеть
Мобильная сеть состоит из двух подсистем: радиоподсистемы и опорной сети.
Радиоподсистема включает базовые станции, контроллеры 2G (BSC) и контроллеры 3G (RNC).
Опорная сеть состоит из нескольких систем, которые обеспечивают обработку голосового и пакетного трафика, тарификацию, авторизацию в сети, управление политиками обслуживания абонентов и правилами тарификации. Эти системы сегодня в основном реализованы в виде программного обеспечения, которое работает на серверах общего пользования.
Для мониторинга производительности и сбоев используются системы управления сетью. Также они нужны для настройки сети и обновления ее программного обеспечения.

Четыре поколения мобильной связи
Сети сотовых операторов в России поддерживают второе, третье и четвертое поколения связи и готовятся к внедрению 5G.

Разберем, чем эти поколения отличаются друг от друга.
Мобильная связь стандарта 2G — самая «старая» из технологий, которые сегодня поддерживают российские операторы. Она обеспечивает базовые сервисы: голосовые звонки, СМС и низкоскоростной доступ в интернет. Несмотря на солидный возраст, 2G вряд ли исчезнет в ближайшее время: кнопочные телефоны с поддержкой 2G продолжат работать, так как на рынке до сих пор много таких устройств. Также GSM в диапазоне 900 МГц обеспечивает большой радиус покрытия от базовой станции
Поколение 3G предоставляет голосовые услуги, СМС и заметно более высокую скорость мобильного интернета. Сеть с технологией HSPA может обеспечивать скорость доступа до нескольких десятков Мбит/с, что сравнимо с проводным интернетом. Однако сотовые операторы постепенно отказываются от 3G, так как пользовательских устройств с поддержкой только 2G/3G и без совместимости с 4G сравнительно немного: доля 3G телефонов упала в России до 1,4%, а пользователей 3G-интернета — до 0,6%.
Сети поколения 4G значительно увеличили скорость мобильного интернета, а еще в них улучшили механизмы обеспечения качества услуг. Эта технология позволяет операторам поддерживать VoLTE, голосовые вызовы через Wi-Fi, критически важные сервисы и подключение устройств с низким энергопотреблением. Сегодня 4G — это наиболее распространенная востребованная и технология мобильной связи.
Поколение 5G обеспечивает еще более высокую скорость передачи данных, сверхнизкие задержки, поддерживает сетевой слайсинг для создания виртуальных сетей под разные сервисы, а также MEC, который позволяет выносить сервисы ближе к пользователю для снижения задержек. Кроме того, 5G может использоваться в неназемных сетях для создания глобального покрытия.
Типы мобильных сетей
Выделим три основных типа построения мобильной сети с точки зрения применения:
- Сеть мобильного оператора связи — это мобильная сеть на территории всей страны или региона для предоставления услуг связи абонентам. Она включает в себя как базовые станции, так и опорную сеть. Также существуют виртуальные мобильные операторы. Они переиспользуют радиоподсистему и часть компонентов опорной сети мобильного оператора.
- Частная сеть — обычно относительно небольшая изолированная сеть, например на территории промышленного предприятия. Она нужна для подключения умных устройств и служебных устройств сотрудников.
- Неназемная сеть (Non-terrestrial network) — это сеть, которая использует либо беспилотные летательные аппараты, либо спутники для создания покрытия сотовой связи на большой территории
Далее в статье мы поговорим об устройстве и принципах построения сетей мобильных операторов связи в России с упором на технологию LTE, которая наиболее востребована.
Ключевые архитектуры в сети оператора связи
Разберемся, как устроена сеть оператора связи для обеспечения всего спектра услуг: мобильный интернет, голосовые услуги, включая вызовы через Wi-Fi, а также подключение умных устройств.
Взаимодействие для сервисов передачи данных (мобильный интернет)
Большинство операторов для взаимодействия между технологиями мобильной связи в части сервисов передачи данных используют архитектуру с Gn/Gp SGSN.

Основные компоненты на схеме:
- UE (User Equipment) — пользовательское устройство.
- E-UTRAN, UTRAN и GERAN — радиоподсистемы 4G, 3G и 2G, соответственно.
- Gn/Gp SGSN (Serving GPRS Support Node) — узел обслуживания абонентов пакетной сети передачи данных сетей 2G и 3G.
- MME (Mobility Management Entity) — узел управления мобильностью в 4G.
- SGW (Serving Gateway) — обслуживающий шлюз сети 4G. Предназначен для обработки и маршрутизации пакетных данных, поступающих из подсистемы базовых станций и в нее.
- PGW (Packet Data Network Gateway) — пакетный шлюз с интерфейсом Gn; комбинированный узел GGSN/PGW обеспечивает подключение абонентов к внешним сетям (интернет, IP-сети).
- HSS (Home Subscriber Server) — сервер абонентских данных.
- PCRF (Policy and Charging Rules Function) — узел политики и правил начисления платы.
Отмечу, что в мобильной сети всегда работают и другие системы, которые не представлены на схеме выше. Например, Short Message Service Center (SMS-C), которая отвечает за отправку коротких сообщений, или Online Charging System (OCS) для тарификации в режиме реального времени.
Мобильный трафик идет от абонента до базовой станции по радиоинтерфейсу и далее по транспортной сети оператора связи до шлюзов SGW и PGW — только потом выходит в интернет. Трафик на радиоинтерфейсе между устройством и базовой станцией, как правило, зашифрован, например, широко распространенным протоколом AES.
Трафик между базовой станцией и шлюзом SGW может быть зашифрован с помощью IPsec. Оператор анализирует трафик с помощью системы глубокого инспектирования трафика DPI. Эту систему реализуют на шлюзе PGW или на отдельном сетевом элементе.
Обычно для передачи мобильного трафика используется канал по умолчанию (default bearer), который позволяет подключиться к пакетным услугам. Канал по умолчанию не гарантирует скорость передачи данных. Поэтому при увеличении количества пользователей, которые подключены к одной базовой станции, скорость мобильного интернета снижается для каждого устройства.
Для голосовых вызовов по сети LTE (VoLTE) используются два канала. Первый — это канал по умолчанию с идентификатором качества обслуживания 5, предназначен для сигнальных сообщений. Второй — выделенный канал с гарантированной полосой пропускания с идентификатором качества обслуживания 1 — для голосового трафика.
Если 4G-покрытие от обслуживающей базовой станции ухудшается и рядом нет 4G-станции, то устройство с помощью процедуры handover переводится на 3G-станцию либо перенаправляется на 2G-станцию.
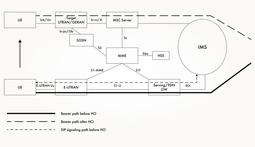
Перевод голосовых соединений из 4G в 2G и 3G
Иначе устроено взаимодействие между разными технологиями, когда совершается голосовой вызов. Голосовой вызов в LTE обслуживается теми же системами опорной сети, что и пакетные услуги, — MME, SGW и PGW, — а также системой для предоставления мультимедийних услуг (IP Multimedia Subsystem).
Если голосовой вызов совершается в сетях 2G и 3G, то его обслуживают компоненты опорной сети Mobile Switching Center Server (MSC-S) и Media Gateway (MGW). Во время голосового handover, то есть процедуры SRVCC, устройство не только переключается на другую базовую станцию, но и переводит голосовой трафик с пакетной передачи данных на голосовые коммутаторы. Обязательное условие — наличие интерфейса Sv, который нужен для поддержки хэндовера из сети LTE в сеть 2G или 3G, между MME и сервером центра мобильной коммутации MSC-S.

Еще одна процедура перевода устройства из LTE в 3G или 2G называется CS Fallback (CSFB). Она используется, если по какой-то причине голосовой звонок не может быть совершен в сети LTE: при установлении голосового соединения устройство переводится из LTE в 2G или 3G и голосовой звонок совершается в одной из этих технологий. Обязательным для работы CSFB является наличие интерфейса SGs, который служит для обмена сигнальными сообщениями между MME и сервером MSC-С.

Мобильность устройств в режиме ожидания
Если устройство не используется, оно переходит из активного состояния (active) в спящее (idle). Мобильность в таком состоянии определяется параметрами, которые базовая станция передает в системной информации (System Information Blocks или SIBs). Благодаря им устройство может переходить не только между базовыми станциями внутри сети LTE, но и в сеть 2G или 3G.
Совместное использование сети
Для экономии ресурсов операторы могут совместно использовать некоторые компоненты сети (Network Sharing). Существуют три основные архитектуры совместного использования операторами активных узлов сети:
- MORAN (Multi-Operator RAN) позволяет нескольким операторам совместно использовать базовую станцию, но при этом каждый оператор работает в своем частотном канале.
- MOCN (Multi-Operator Core Network) подразумевает совместное использование базовой станции и частотного ресурса, так как в одной соте может передаваться список идентификаторов нескольких операторов. Public Land Mobile Network Identity (PLMN ID list) — это уникальный идентификатор, который присваивают мобильной сети, он состоит из двух кодов: кода страны (MCC) и кода сети (MNC).
- GWCN (Gateway Core Network) — это совместное использование базовой станции и сигнального узла опорной сети: например, MME в случае 4G.
При совместном использовании пассивных компонентов задействуется общая пассивная инфраструктура, например антенны, башня или площадка для базовой станции.
Дополнительные услуги мобильных сетей
Основные варианты архитектуры и принципы позволяют устройству перемещаться внутри сети во время голосового звонка или при использовании мобильного интернета. Какие еще услуги может предоставить сеть оператора связи?
Голосовые вызовы по Wi-Fi
Услуга «Вызовы через Wi-Fi» позволяет осуществлять голосовые звонки через сеть Wi-Fi. Ее поддерживает большинство современных смартфонов. Сервис использует архитектуру, которая изображена на схеме ниже.

Ключевые узлы на схеме:
- Untrusted Non-3GPP IP Access — недоверенный Non-3GPP доступ к IP, это сеть Wi-Fi.
- ePDG (Evolved Packet Data Gateway) — шлюз для подключения устройства из недоверенной сети к сети оператора связи.
Смартфон, который подключен к сети Wi-Fi, устанавливает IPSec-туннель до шлюза ePDG. Последний подключен к шлюзу PGW по интерфейсу S2b. Так голосовой трафик попадает в пакетное ядро мобильного оператора.
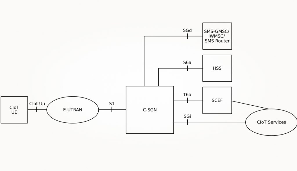
Интернет вещей
Мобильная сеть позволяет подключать устройства с низким энергопотреблением. Многие операторы реализуют такие услуги в соответствии с архитектурой, которую рекомендует консорциум 3GPP. Она показана на рисунке ниже.

Базовые станции LTE с активированным функционалом NB-IoT подключают к выделенным компонентам MME, SGW, PGW — эти компоненты обслуживают только устройства NB-IoT. Такой комбинированный узел получил название CIoT Serving Gateway Node (C-SGN). Для безопасного взаимодействия мобильной сети и приложений IoT используется Service Capability Exposure Function (SCEF).
Архитектура пятого поколения связи
Существует два варианта построения новой 5G архитектуры: NSA (Non-Standalone) и SA (Standalone).

- 5G NSA — использование опорной сети LTE, то есть компонентов MME, SGW, PGW, HSS, к которым подключены не только базовые станции LTE, но и 5G. Устройство по радиоинтерфейсу передает данные одновременно по 4G и 5G, что позволяет увеличить скорость передачи данных.
- 5G SA — использование опорной сети 5G, то есть компонентов AMF, SMF, UPF, NRF и других, к которым подключены базовые станции 5G. Именно такой вариант позволяет реализовать все преимущества сетей пятого поколения: гигабитные скорости, на порядок выше тех в LTE, сверхнизкие задержки и более надежное соединение, сетевой слайсинг, MEC, неназемные сети.

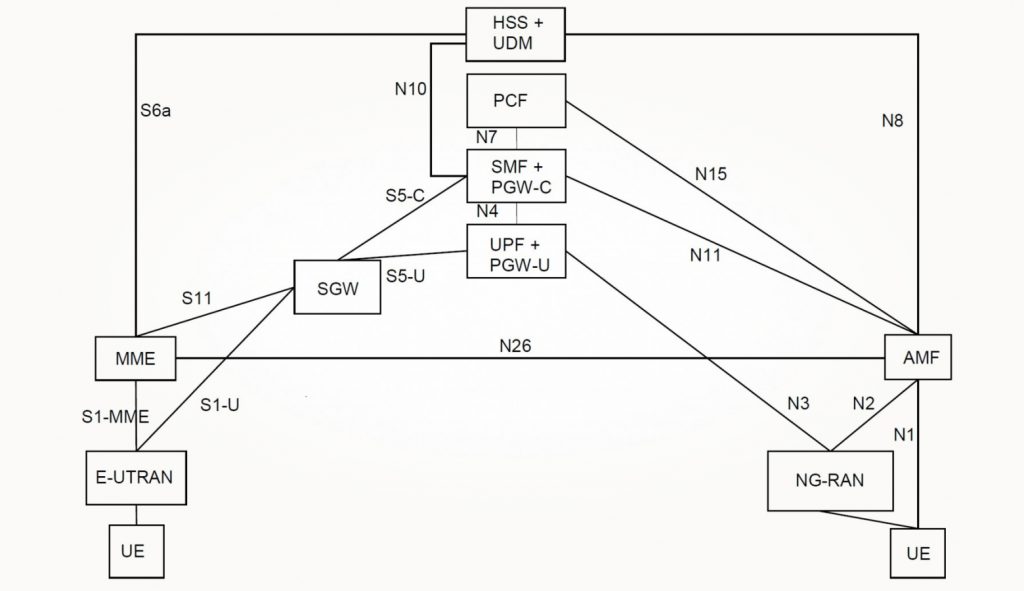
При запуске 5G SA возникает важный вопрос: как обеспечить бесшовное взаимодействие с сетями предыдущих поколений, прежде всего с 4G. Одной из ключевых задач становится handover между 4G и 5G, чтобы при отсутствии покрытия 5G связь не обрывалась и пользователи не испытывали проблем с сервисами.
Эта задача решается с помощью архитектуры взаимодействия 5GS и EPC/E-UTRAN, которая включает:
- совмещенную базу данных (HSS + UDM),
- интерфейс N26 между сигнальными функциями MME и AMF,
- SMF + PGW-C — конвергентную функцию, объединяющую функции управления сессиями 5G и 4G,
- Конвергированную функцию обработки трафика UPF + PGW-U для маршрутизации пакетов, применения политик и управления трафиком.
Благодаря такому подходу пользователи могут плавно переключаться между 4G и 5G, сохраняя соединение без разрывов и ухудшения качества услуг.

Будущее мобильных сетей
Современные мобильные сети — это не только СМС, голосовая связь и интернет. Они становятся платформой для подключения самых разных умных устройств. В умных городах сеть нужна для освещения, подключенных автомобилей и для контроля трафика. Индустриальные IoT-решения тоже зависят от мобильных сетей — нужно проводить мониторинг оборудования и автоматизировать производства. Это же касается и технологии связи для устройств с низким энергопотреблением NB-IoT, тех устройств, что могут годами работать на одной батарее.
Сегодня в сетях мобильных операторов наиболее востребованы технологии 2G и 4G, в то время как 3G постепенно уходит в прошлое. Операторы связи отказываются от этой технологии, перераспределяя освободившийся частотный ресурс в пользу 4G, что позволяет увеличить емкость сети и упростить архитектуру. Будущее — за 5G. Эта технология не просто позволяет увеличить скорость мобильного интернета, но и открывает новые возможности для цифрового мира.




